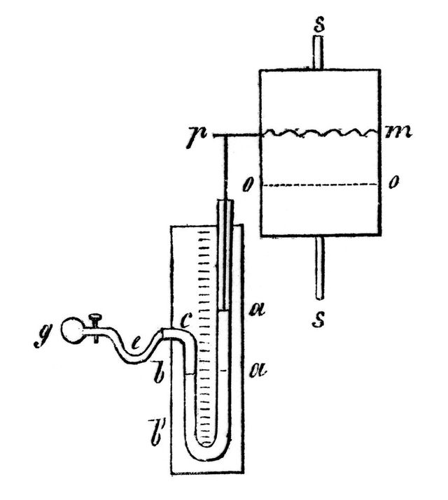
M0011255: Poiseuille's haemodynamometer converted into a self-recording instrument by the addition of a float kymagraph
- Date:
- 1950
- Reference:
- WT/D/1/20/1/100/1
Licence: Public Domain Mark
Credit: M0011255: Poiseuille's haemodynamometer converted into a self-recording instrument by the addition of a float kymagraph. Source: Wellcome Collection.

